15603181870
amy@chnhose.com
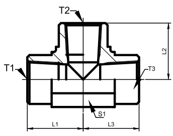
美制布锥管外螺纹/美制NPSM内螺纹60°外锥
| PART NO. | THREAD | DIMENSIONS | WEIGHT | WORKING PRESSURE | ||||
| T1 | T2 | L1 | L | S1 | S2 | (g) | ||
| 2NU-04 2NU-06 2NU-08 2NU-12 2NU-16 2NU-20 2NU-24 |
NPT 1/4″X18 NPT 3/8″X18 NPT 1/2″X14 NPT 3/4″X14 NPT 1″X11.5 NPT 1.1/4″X11.5 NPT 1.1/2″X11.5 |
1/4″ X18 3/8″ X18 1/2″X14 3/4″X14 1″X11.5 1.1/4″X11.5 1.1/2″X11.5 |
14.5 14.5 19.5 19.5 24.5 25 26 |
31.8 33.3 41.1 42.9 50.8 53.1 55.6 |
17 22 27 32 41 50 55 |
22 22 27 32 41 50 55 |
44 44 75 115 195 305 395 |
21 21 21 17 14 8 7 |