15603181870
amy@chnhose.com
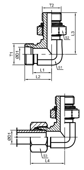
90°弯美制螺纹可调向O型圈密封柱端 ISO 11926
| PART NO. | THREAD | TUBE O.D | DIMENSIONS | WEIGHT | WORKING PRESSURE | SERIES | |||||||
| T1 | T2 | D1 | L1 | L2 | L3 | L4 | 1 | S2 | S3 | g/pc | (bar) | ||
| 1CO9-12-04OG 1C09-14-060G 1CO9-16-060G 1CO9-18-08OG 1CO9-22-10OG 1CO9-22-080G 1CO9-26-120G 1CO9-30-120G 1CO9-36-12OG 1CO9-36-160G 1CO9-45-20OG 1CO9-52-240G 1DO9-14-04OG 1DO9-16-060G 1DO9-18-060G 1DO9-18-060G 1DO9-20-080G 1DO9-22-100G 1DO9-24-100G 1DO9-30-120G 1DO9-36-160G 1DO9-42-20OG 1DO9-52-24OG |
M12x1.5 M14x1.5 M16x1.5 M18x1.5 M22x1.5 M22x1.5 M26x1.5 M30x2 M36x2 M36x2 M45x2 M52x2 M14x1.5 M16x1.5 M18x1.5 M18x1.5 M20x1.5 M24x1.5 M24x1.5 M30x2 M36x2 M42x2 M52x2 |
7/16″x20 9/16″x18 9/16″x18 3/4″x16 7/8″x14 3/4″x16 1.1/16″x12 1.1/16″x12 1.1/16″x12 1.5/16″x12 1.5/8″x12 1.7/8″x12 7/16″x20 9/16″x18 9/16″x18 3/4″x16 3/4″x16 7/8″x14 7/8″x14 1.1/16″x12 1.5/16″x12 1.5/8″x12 1.7/8″x12 |
6 8 10 12 15 15 18 22 28 28 35 42 6 8 10 10 12 14 16 20 25 30 38 |
14 15.5 17 19 21 21 24 28 33.5 31 38 38 15 17 18 19.5 22 23 25 28 30 36 34 |
21 22.5 24 26 28 28 31.5 35.5 41 38.5 48.5 49 22 24 25.5 27 29.5 30.5 33.5 38.5 42 49.5 50 |
29 31.8 34 38 43 41 49 52 57.5 59 63 64 32 37 38 37.5 44 44 50 56 57.5 69 70 |
29 30.5 32 34 36 36 40 44 47.8 47 59 61 30 32 34 36 38 41 43 49 54 62 65 |
14 14 19 19 22 22 30 30 36 36 50 50 14 19 19 19 22 22 27 30 36 50 50 |
17 19 19 22 27 22 32 32 41 41 50 55 17 19 19 24 22 27 27 32 41 50 55 |
14 17 19 22 27 27 32 36 41 41 50 60 17 19 22 22 24 27 30 36 46 50 60 |
42 60 70 118 168 144 265 313 410 500 585 582 199 226 236 281 311 328 348 430 510 695 629 |
315 315 315 250 250 250 250 160 160 160 160 160 315 315 250 250 250 250 250 250 250 160 160 |
L L L L L L L L L L L L S S S S S S S S S S S |
注:如需带卡套和卡套螺母整套订货,则请在代号后面加 “RN” 如 1CO9-30-120G/RN.